• Добро пожаловать на Черная дыра.
 

Метеорит-А

Автор dmdimon, 25.08.2014 00:23:15

« назад - далее »

0 Пользователи и 1 гость просматривают эту тему.

dmdimon

Господа, я вот посетил сегодня музей космонавтики - на предмет Челомеевской выставки в основном, ну и вообще - и у меня возник ряд вопросов по выставленному перед входом Метеориту-А  ;)  

1) воздухозаборник закрыт, и это, очевидно, конструктив. Некая трехсекционная крышка. Я так понимаю - это на момент старта, чтобы дерьмо какое-нибудь внутрь не попало. Но совершенно неочевидно - как эту штуку убирают потом? К сожалению снять забыл (
2) жалюзи сбоку на воздухозаборнике - нормализация давления на входе в турбину? 


3) самое загадочное для меня - двигатель... Объясните дилетанту. Более-менее общий вид:

вот эти пипки, которые там торчат - это что? 

Форсажные форсунки? врядли. Поджигатели? Сомнительно. Датчики горения или там температуры? Зачем столько? Какие-нибудь секретные ионизаторы следа? В общем, если кто знает - расскажите )

Потом - эта штука летает на 3М. В моем дилетантском понимании путь потока через двигатель должен быть максимально прямым у нее, однако.... не фотке выше видно, что обод с "пипками" и задняя плоская стенка соединены без зазора. Центральное тело не достает до задней стенки от силы на сантиметр-полтора, только палец засунуть:

Я уж подумал, что поток идет между корпусом и ободом с "пипками" - но заглянув туда отказался от этой мысли:


Центральное тело - это "перевернутая" камера сгорания? но как такие тонкие стенки могут не прогореть - охлаждения-то нет? 

Центральное тело - это закрытое крышкой сопло? Но блин очень аккуратно закрыто...

Объясните кто-нибудь, как это работает?
push the human race forward

Имxотеп

Это не центральное тело, это толи твердотопливный ускоритель, толи турбостартер. Вот , где съемка сброса с самолета, хорошо видно, как эта хрень отваливается.

dmdimon

за прошедшее время я нарыл в интернете фотку двигателя, но она ясности не добавила. То-есть понятно, что "центральное тело" - это совсем не все и оно действительно заглушено крышкой скорее всего, но блин все равно непонятно, как это действует:
Цитировать
Маршевый двигатель КР-23 - турбореактивный , способный работать в широком диапазоне полетных условий: скорость от 0,4 до 3М и высота полета от 0 до 24 км.


кстати, трехстворчатая заслонка на воздухозаборнике, которую я забыл сфоткать:
push the human race forward

muxel

По порядку поступивших вопросов.

Во-1, это изделие не авиационный, а морской вариант и ВЗУ закрывалось на нем стартово-разгонной ступенью. А то что вы считаете "заслонкой" это управляемый клин сверхзвукового ВЗУ. На авиационном варианте штатная была другая "заслонка".

В-3, не понимаю какие вопросы по двигателю? "Центральное тело" это обычное центральное тело сопла ТРД, сзади на его торце крепится сбрасываемый турбостартер. Газы выходят по прямой через турбину, колесо которой на музейной ракете закрыто серебристым листом, что б не напихали туда ничего лишнего...
wbr, muxel

dmdimon

Спасибо.
Я был невнимателен - на фотке двигателя видны лопатки турбины и нет никакой "задней стенки"

Собственно она меня и ввела в непонятки...
push the human race forward

Плейшнер

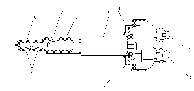
#5
Цитироватьвот эти пипки, которые там торчат - это что?
Такие или аналогичные, измеряют температуру выходящих газов (ТВГ)

Термопара Т – 99: 1 – корпус; 2,3 – контактные винты; 4 – термоэлектроды; 5 – входные отверстия; 6 – камера торможения; 7 -  выходное отверстие; 8 – термоэлектродный спай; 9 – штуцер.
Не надо греть кислород!

dmdimon

push the human race forward